Пневматика и
автоматизация

  • Пн - Пт
  • 9:00 - 18:00
  • Фотография может отличаться от реального товара

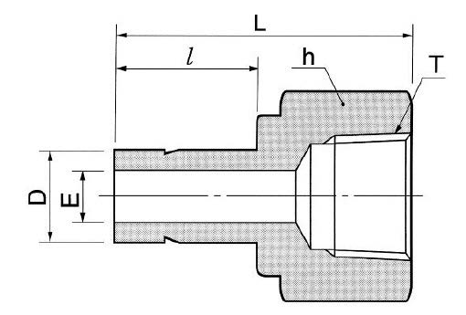
    DAF10-12N-S - Переходник прямой с внутр. резьбой обжимной NPT3/4-5/8", нерж.

    260562
    Форма фитинга: переходник прямой с внутр. резьбой втулочный • Подключение: NPT3/4-5/8″ • Материал корпуса: сталь нержавеющая AISI 316
    Преимущества
    Бесплатные консультации и техподдержка
    Подбор аналогов из наличия
    Быстрая обработка заявки
    Индивидуальный подход
    Лучшие цены и сроки
    Оплата
    Доставка
    • Все о товаре
    • Описание
    • Характеристики

    Описание DAF10-12N-S

    Назначение и принцип работы

    Переходник прямой втулочный с внутренней резьбой служит для герметичного соединения трубопровода с резьбовым портом приборов и оборудования по стандарту NPT: с резьбы NPT 3/4 на трубное присоединение 5/8″ (втулка). Конструкция обжимает трубку двумя обжимными кольцами и гайкой, обеспечивая уплотнение металл‑по‑металлу втулкой и феррулами, а резьевой стык в исполнительных узлах дополнительно уплотняется ФУМ‑лентой. Применяется в КИПиА, гидравлике и технологических линиях для передачи газа и жидкостей при лабораторных и промышленных давлениях.

    Ключевые особенности конструкции

    Корпус и элементы — нержавеющая сталь AISI 316, общая материаль — сталь нержавеющая; двухфурульная схема обеспечивает надежную центровку и виброустойчивое уплотнение трубки Ø≈5/8″. Резьба NPT 3/4 обеспечивает совместимость с приборными портами. Для резьбового узла рекомендуется ФУМ‑лента; для трубного соединения уплотнение металл‑по‑металлу обеспечивает высокую коррозионную стойкость. В типичных применениях рабочее давление — сотни бар (зависит от диаметра и толщины стенки трубки), температурный диапазон при использовании ФУМ‑ленты примерно −60…+260 °C; при металл‑уплотнении возможен более широкий температурный интервал, согласно спецификациям AISI 316.

    Экспертные рекомендации по применению

    При подборе согласуйте толщину стенки трубки и рабочее давление; для 5/8″ используйте трубки, рассчитанные на заданный режим. При монтаже — сначала вставить трубку до упора во втулку, затянуть гайку с контролем крутящего момента по таблице производителя, избегать перекосов. Не используйте излишнюю ФУМ‑ленту, чтобы избежать попадания фрагментов в систему. Для агрессивных сред и высоких температур проверяйте совместимость с AISI 316 и условиями уплотнений; при вибрации рекомендуются контрольные подтяжки после запуска.

    Автор

    Ответственный редактор / Инженер

    Директор «Би Энд Би Инжиниринг»
    «Описание товара DAF10-12N-S - Переходник прямой с внутр. резьбой обжимной NPT3/4-5/8", нерж. на этой странице составлено на основе нашего 10-летнего опыта работы в сфере пневматического оборудования, запорной арматуры и промышленной автоматизации. Если у вас есть вопросы или комментарии — напишите мне лично».

    Характеристики DAF10-12N-S

    Характеристики фитингов
    Форма фитинга
    переходник прямой с внутр. резьбой втулочный
    Тип уплотнения резьбового соединения
    • ФУМ-лента
    Общие характеристики
    Тип конструкции
    обжим трубки с помощью двух обжимных колец и гайки
    Массо-габаритные и монтажные характеристики
    Подключение
    NPT3/4-5/8″
    Подключение, канал 1
    • NPT3/4
    Подключение, канал 2
    • 5/8″ (втулка)
    Материалы
    Основной материал
    сталь нержавеющая
    Корпус
    сталь нержавеющая AISI 316
    Идентификационные данные
    Производитель
    DKL
    Артикул
    DAF10-12N-S
    Ед. изм.
    шт.
    Наличие в магазинах
    Магазин и адрес
    Режим работы
    Телефон
    Доступность
    Склад Алматы
    г. Алматы, ул. Казыбаева, 3/3, пом. 11
    Пн.-Пт. 10:00-17:00
    +7(776)990-55-56
    Нет в наличии
    Отзывы

    Отзывы не найдены

    Как только цена на товар снизится, вы сразу об этом узнаете
    Следить за снижением цены

    Цена пока не менялась. Как только она изменится, мы покажем график

    Возможно, вас это заинтересует
     
    • Похожие товары
    • Недавно смотрели