Пневматика и
автоматизация

  • Пн - Пт
  • 9:00 - 18:00
  • Фотография может отличаться от реального товара

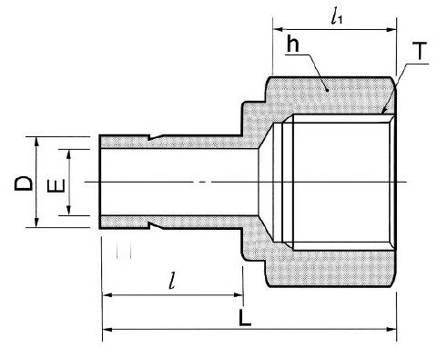
    DAF6-4GR-S - Переходник прямой с внутр. резьбой обжимной G1/4-3/8", нерж.

    260602
    Форма фитинга: переходник прямой с внутр. резьбой втулочный • Подключение: G1/4-3/8″ • Материал корпуса: сталь нержавеющая AISI 316
    Преимущества
    Бесплатные консультации и техподдержка
    Подбор аналогов из наличия
    Быстрая обработка заявки
    Индивидуальный подход
    Лучшие цены и сроки
    Оплата
    Доставка
    • Все о товаре
    • Описание
    • Характеристики

    Описание DAF6-4GR-S

    Назначение и принцип работы

    Переходник прямой втулочный с внутренней резьбой G1/4 → 3/8″ предназначен для герметичного присоединения трубной линии диаметром 3/8″ (9,52 мм) к резьбовому патрубку G1/4 в системах технологической арматуры, КИПиА и гидравлики. Работает по принципу двух обжимных колец: при затяжке гайки кольца центрируются и деформируют трубу, формируя металлическое уплотнение, а резьбовое соединение уплотняется прокладкой по DIN 3852 форма A/B. Конструкция обеспечивает надежное соединение для газов и жидкостей при инструментальных линиях и технологических ответвлениях.

    Ключевые особенности конструкции

    Корпус и элементы — нержавеющая сталь AISI 316 (общий материал — сталь нержавеющая), двухкольцевая система обжима с гайкой и втулкой 3/8″. Резьбовое уплотнение — прокладка по DIN 3852 форма A/B (подбирается по среде и температуре). Применение: аналитические и технологические газовые линии, гидравлика, химические среды, паровые и криогенные установки. Типичные эксплуатационные пределы зависят от диаметра и условий, ориентировочно рабочее давление до ~400 бар (величина зависит от толщины трубки и монтажного режима); температурный диапазон — от криогенных −196 °C до порядка +200 °C в зависимости от материала прокладки.

    Экспертные рекомендации по применению

    Перед монтажом использовать трубу точного наружного диаметра 3/8″ (9,52 мм), отрезать перпендикулярно, удалить заусенцы и фаски. Устанавливать комплект из гайки и двух обжимных колец согласно инструкции производителя; производить начальную затяжку вручную и затем доводить по рекомендованным оборотам/моменту (см. таблицы DK‑Lok). Не повторно не использовать деформированные кольца; для агрессивных сред подбирать прокладку DIN 3852 по химстойкости и температуре. После монтажа выполнить опрессовку/пневмо/гелиевый тест на герметичность. Для кислородных или особо чистых сред применять изделия с очисткой и смазкой, допущенной для O2, и избегать перекрута/перетяжки и вибрационных нагрузок.

    Автор

    Ответственный редактор / Инженер

    Директор «Би Энд Би Инжиниринг»
    «Описание товара DAF6-4GR-S - Переходник прямой с внутр. резьбой обжимной G1/4-3/8", нерж. на этой странице составлено на основе нашего 10-летнего опыта работы в сфере пневматического оборудования, запорной арматуры и промышленной автоматизации. Если у вас есть вопросы или комментарии — напишите мне лично».

    Характеристики DAF6-4GR-S

    Характеристики фитингов
    Форма фитинга
    переходник прямой с внутр. резьбой втулочный
    Тип уплотнения резьбового соединения
    • прокладка DIN 3852 форма A/B
    Общие характеристики
    Тип конструкции
    обжим трубки с помощью двух обжимных колец и гайки
    Массо-габаритные и монтажные характеристики
    Подключение
    G1/4-3/8″
    Подключение, канал 1
    • G1/4
    Подключение, канал 2
    • 3/8″ (втулка)
    Материалы
    Основной материал
    сталь нержавеющая
    Корпус
    сталь нержавеющая AISI 316
    Идентификационные данные
    Производитель
    DKL
    Артикул
    DAF6-4GR-S
    Ед. изм.
    шт.
    Наличие в магазинах
    Магазин и адрес
    Режим работы
    Телефон
    Доступность
    Склад Алматы
    г. Алматы, ул. Казыбаева, 3/3, пом. 11
    Пн.-Пт. 10:00-17:00
    +7(776)990-55-56
    Нет в наличии
    Отзывы

    Отзывы не найдены

    Как только цена на товар снизится, вы сразу об этом узнаете
    Следить за снижением цены

    Цена пока не менялась. Как только она изменится, мы покажем график

    Возможно, вас это заинтересует
     
    • Похожие товары
    • Недавно смотрели