Пневматика и
автоматизация

  • Пн - Пт
  • 9:00 - 18:00
  • Фотография может отличаться от реального товара

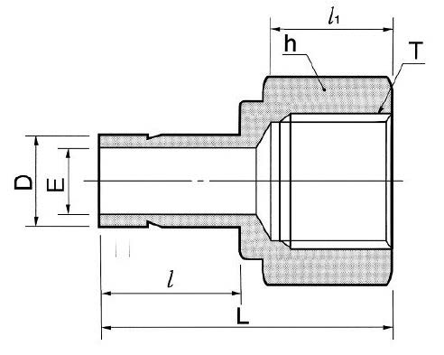
    DAF6-6GR-S - Переходник прямой с внутр. резьбой обжимной G3/8-3/8", нерж.

    260603
    Форма фитинга: переходник прямой с внутр. резьбой втулочный • Подключение: G3/8-3/8″ • Материал корпуса: сталь нержавеющая AISI 316
    Преимущества
    Бесплатные консультации и техподдержка
    Подбор аналогов из наличия
    Быстрая обработка заявки
    Индивидуальный подход
    Лучшие цены и сроки
    Оплата
    Доставка
    • Все о товаре
    • Описание
    • Характеристики

    Описание DAF6-6GR-S

    Назначение и принцип работы

    Переходник прямой втулочный служит для механического и герметичного соединения трубки с портом оборудовании, оснащённым внутренней резьбой G3/8 по DIN 3852 (форма A/B). Устройство обеспечивает переход от резьбового присоединения к обжимному соединению 3/8″ (втулка) для линий измерения, отбора проб, подпитки приборов, гидравлики и газового хозяйства. Принцип работы — цилиндрическая втулка и комплект из двух обжимных колец с гайкой формируют уплотнение на поверхности трубки при затяжке; резьбовое соединение дополнительно уплотняется прокладкой по DIN 3852.

    Ключевые особенности конструкции

    Корпус и встроенные элементы — нержавеющая сталь AISI 316, обеспечивающая коррозионную стойкость в агрессивных средах. Конструкция — обжим трубки с двумя обжимными кольцами и гайкой, втулочный внутренний резьбовой переход G3/8 — 3/8″ (трубка 3/8″ ≈ 9,52 мм). Уплотнение резьбы — прокладка DIN 3852 форма A/B. Рабочие среды: жидкости, масла, технические и инертные газы, вакуум. Ориентировочные пределы эксплуатации зависят от диаметра и стенки трубки; при типичных размерах и правильной сборке допустимое рабочее давление может достигать сотен бар, температура эксплуатации с обычными прокладками примерно от -196 °C (крио-решения с соответствующей прокладкой) до +200 °C.

    Экспертные рекомендации по применению

    Рекомендуется применять с трубками из нержавеющей стали соответствующего диаметра и стенки, резать торец на 90° и тщательно удалять фаски и заусенцы. Перед сборкой вставьте первичную и вторичную обжимные кольца согласно схеме производителя; затяжку начните вручную, затем придайте окончательный момент по таблице усилий DK‑Lok (не превышать: избыточная затяжка деформирует кольца и нарушает герметичность). При повторном монтаже заменяйте фитинг или кольца при явных следах деформации. После установки обязательно провести пробное натурное испытание на рабочем давлении и контроль герметичности.

    Автор

    Ответственный редактор / Инженер

    Директор «Би Энд Би Инжиниринг»
    «Описание товара DAF6-6GR-S - Переходник прямой с внутр. резьбой обжимной G3/8-3/8", нерж. на этой странице составлено на основе нашего 10-летнего опыта работы в сфере пневматического оборудования, запорной арматуры и промышленной автоматизации. Если у вас есть вопросы или комментарии — напишите мне лично».

    Характеристики DAF6-6GR-S

    Характеристики фитингов
    Форма фитинга
    переходник прямой с внутр. резьбой втулочный
    Тип уплотнения резьбового соединения
    • прокладка DIN 3852 форма A/B
    Общие характеристики
    Тип конструкции
    обжим трубки с помощью двух обжимных колец и гайки
    Массо-габаритные и монтажные характеристики
    Подключение
    G3/8-3/8″
    Подключение, канал 1
    • G3/8
    Подключение, канал 2
    • 3/8″ (втулка)
    Материалы
    Основной материал
    сталь нержавеющая
    Корпус
    сталь нержавеющая AISI 316
    Идентификационные данные
    Производитель
    DKL
    Артикул
    DAF6-6GR-S
    Ед. изм.
    шт.
    Наличие в магазинах
    Магазин и адрес
    Режим работы
    Телефон
    Доступность
    Склад Алматы
    г. Алматы, ул. Казыбаева, 3/3, пом. 11
    Пн.-Пт. 10:00-17:00
    +7(776)990-55-56
    Нет в наличии
    Отзывы

    Отзывы не найдены

    Как только цена на товар снизится, вы сразу об этом узнаете
    Следить за снижением цены

    Цена пока не менялась. Как только она изменится, мы покажем график

    Возможно, вас это заинтересует
     
    • Похожие товары
    • Недавно смотрели