Пневматика и
автоматизация

  • Пн - Пт
  • 9:00 - 18:00
  • Фотография может отличаться от реального товара

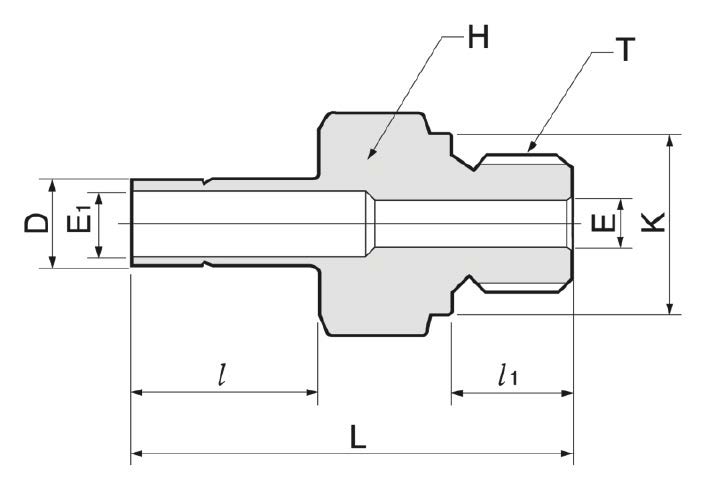
    DAM25M-16G-S - Переходник прямой с нар. резьбой обжимной G1-25 мм, нерж.

    260522
    Форма фитинга: переходник прямой с нар. резьбой втулочный • Подключение: G1-25 мм • Материал корпуса: сталь нержавеющая AISI 316
    Преимущества
    Бесплатные консультации и техподдержка
    Подбор аналогов из наличия
    Быстрая обработка заявки
    Индивидуальный подход
    Лучшие цены и сроки
    Оплата
    Доставка
    • Все о товаре
    • Описание
    • Характеристики

    Описание DAM25M-16G-S

    Назначение и принцип работы

    Переходник прямой втулочный с наружной резьбой G1 — предназначен для соединения трубопроводов и приборной арматуры: переход с резьбового канала G1 на сварную/обжимную трубку Ø25 мм. Работает по принципу обжимного соединения с двумя обжимными кольцами и гайкой: при затяжке гайки колечки формируют плотное механическое захватывание трубы, а резьбовое соединение дополнительно герметизируется резинометаллическим кольцом USIT по DIN 3852-2 форма A. Конструкция обеспечивает герметичность для сред гидравлики, технологических и химических жидкостей, воздуха и некритичных газов в рамках допустимых давлений и температур.

    Ключевые особенности конструкции

    Корпус и элементы — сталь нержавеющая AISI 316, обжимные кольца — нержавеющая сталь, уплотнение резьбы — резинометаллическое кольцо USIT (DIN 3852‑2 форма A). Соединение: канал 1 — G1 (наружная резьба), канал 2 — втулка для трубки 25 мм. Тип конструкции — двухкольцевой обжим (две втулки + гайка) обеспечивает высокую механическую прочность и противовибрационную стойкость. Типичные рабочие параметры: рабочее давление до 250 бар (зависит от толщины стенки трубы и условий), температурный диапазон ориентировочно −40…+150 °C со стандартным NBR; при использовании FKM/EPDM диапазон может расширяться (до ~+200 °C/−60 °C). Применимо в агрессивных средах при подборе материалов и уплотнений.

    Экспертные рекомендации по применению

    Подбирайте переходник с учётом толщины стенки трубки и рабочего давления; для критичных нагрузок уточняйте паспорт давления у производителя. Перед сборкой зачистите и удалите фаску на трубке, соблюдайте глубину посадки втулки; гайку затягивать сначала рукой, затем нормативными оборотами или по крутящему моменту из технической документации производителя — избегайте перетяжки. При агрессивных средах выбирайте соответствующий материал уплотнения (FKM/EPDM) и контролируйте коррозионную среду даже для AISI 316. После монтажа выполните гидравлическую или пневматическую пробу и осмотр на вибрации; в системах с циклическими нагрузками используйте фиксацию и опоры трубопровода.

    Автор

    Ответственный редактор / Инженер

    Директор «Би Энд Би Инжиниринг»
    «Описание товара DAM25M-16G-S - Переходник прямой с нар. резьбой обжимной G1-25 мм, нерж. на этой странице составлено на основе нашего 10-летнего опыта работы в сфере пневматического оборудования, запорной арматуры и промышленной автоматизации. Если у вас есть вопросы или комментарии — напишите мне лично».

    Характеристики DAM25M-16G-S

    Характеристики фитингов
    Форма фитинга
    переходник прямой с нар. резьбой втулочный
    Тип уплотнения резьбового соединения
    • кольцо резинометаллическое USIT по DIN 3852-2 форма A
    Общие характеристики
    Тип конструкции
    обжим трубки с помощью двух обжимных колец и гайки
    Массо-габаритные и монтажные характеристики
    Подключение
    G1-25 мм
    Подключение, канал 1
    • G1
    Подключение, канал 2
    • 25 мм (втулка)
    Материалы
    Основной материал
    сталь нержавеющая
    Корпус
    сталь нержавеющая AISI 316
    Идентификационные данные
    Производитель
    DKL
    Артикул
    DAM25M-16G-S
    Ед. изм.
    шт.
    Наличие в магазинах
    Магазин и адрес
    Режим работы
    Телефон
    Доступность
    Склад Алматы
    г. Алматы, ул. Казыбаева, 3/3, пом. 11
    Пн.-Пт. 10:00-17:00
    +7(776)990-55-56
    Нет в наличии
    Отзывы

    Отзывы не найдены

    Как только цена на товар снизится, вы сразу об этом узнаете
    Следить за снижением цены

    Цена пока не менялась. Как только она изменится, мы покажем график

    Возможно, вас это заинтересует
     
    • Похожие товары
    • Недавно смотрели