Пневматика и
автоматизация

  • Пн - Пт
  • 9:00 - 18:00
  • Фотография может отличаться от реального товара

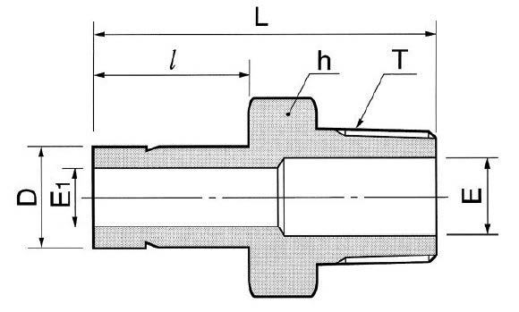
    DAM4-4R-S - Переходник прямой с нар. резьбой обжимной R1/4-1/4", нерж.

    260470
    Форма фитинга: переходник прямой с нар. резьбой втулочный • Подключение: R1/4-1/4″ • Материал корпуса: сталь нержавеющая AISI 316
    Преимущества
    Бесплатные консультации и техподдержка
    Подбор аналогов из наличия
    Быстрая обработка заявки
    Индивидуальный подход
    Лучшие цены и сроки
    Оплата
    Доставка
    • Все о товаре
    • Описание
    • Характеристики

    Описание DAM4-4R-S

    Назначение и принцип работы

    Переходник прямой втулочный R1/4–1/4" предназначен для соединения 1/4" (6,35 мм) трубки с наружной конической резьбой R1/4 в системах КИПиА и технологических магистралях. Принцип работы — комбинированное герметичное соединение: резьбовая посадка уплотняется ФУМ-лентой, а трубная часть фиксируется и герметизируется за счёт обжима двух обжимных колец (передняя и задняя втулки) и гайки. Конструкция обеспечивает металлическое уплотнение трубки без применения дополнительных уплотнительных прокладок, пригодна для передачи сред низкого и высокого давления (инструментальные линии, газ, пар, масла, гидравлика).

    Ключевые особенности конструкции

    Корпус и обжимные элементы изготовлены из нержавеющей стали AISI 316, что обеспечивает стойкость к коррозии и совместимость с широким набором рабочих сред. Конструкция — два обжимных кольца + гайка (тип DK‑Lok), резьба R1/4 уплотняется ФУМ-лентой. Типичные рабочие параметры для аналогичных комплектов: рабочее давление до ~400 бар (в зависимости от диаметра трубки и условий эксплуатации) и температурный диапазон приблизительно от −60 °C до +200 °C; точные значения уточняйте по паспортным данным для конкретного размера и состава среды. Рекомендуется использование в средах, совместимых с AISI 316; для кислорода и агрессивных сред требуется специальная подготовка поверхности.

    Экспертные рекомендации по применению

    Перед монтажом обеспечить прямой отрез трубки без заусенцев, глубина ввода должна соответствовать посадочной длине втулки. Наносить ФУМ-ленту на наружную резьбу R1/4 равномерно, не закладывая ленту в канал; собрать до предварительного прижима вручную, затем затянуть гайку по рекомендациям производителя (обычно 1–1,5 оборота после схватывания для двухобжимных соединений) или по табличному моменту затяжки. Избегать перетяжки и ударных нагрузок, проводить контроль на протечки при испытании давлением. Для вибронагруженных систем применять фиксирующие меры и периодическую проверку; при работе с агрессивными средами — проверять совместимость уплотнений и проводить промывку/пассивацию при необходимости.

    Автор

    Ответственный редактор / Инженер

    Директор «Би Энд Би Инжиниринг»
    «Описание товара DAM4-4R-S - Переходник прямой с нар. резьбой обжимной R1/4-1/4", нерж. на этой странице составлено на основе нашего 10-летнего опыта работы в сфере пневматического оборудования, запорной арматуры и промышленной автоматизации. Если у вас есть вопросы или комментарии — напишите мне лично».

    Характеристики DAM4-4R-S

    Характеристики фитингов
    Форма фитинга
    переходник прямой с нар. резьбой втулочный
    Тип уплотнения резьбового соединения
    • ФУМ-лента
    Общие характеристики
    Тип конструкции
    обжим трубки с помощью двух обжимных колец и гайки
    Массо-габаритные и монтажные характеристики
    Подключение
    R1/4-1/4″
    Подключение, канал 1
    • R1/4
    Подключение, канал 2
    • 1/4″ (втулка)
    Материалы
    Основной материал
    сталь нержавеющая
    Корпус
    сталь нержавеющая AISI 316
    Идентификационные данные
    Производитель
    DKL
    Артикул
    DAM4-4R-S
    Ед. изм.
    шт.
    Наличие в магазинах
    Магазин и адрес
    Режим работы
    Телефон
    Доступность
    Склад Алматы
    г. Алматы, ул. Казыбаева, 3/3, пом. 11
    Пн.-Пт. 10:00-17:00
    +7(776)990-55-56
    Нет в наличии
    Отзывы

    Отзывы не найдены

    Как только цена на товар снизится, вы сразу об этом узнаете
    Следить за снижением цены

    Цена пока не менялась. Как только она изменится, мы покажем график

    Возможно, вас это заинтересует
     
    • Похожие товары
    • Недавно смотрели