Пневматика и
автоматизация

  • Пн - Пт
  • 9:00 - 18:00
  • Фотография может отличаться от реального товара

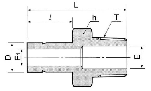
    DAM4-6R-S - Переходник прямой с нар. резьбой обжимной R3/8-1/4", нерж.

    260471
    Форма фитинга: переходник прямой с нар. резьбой втулочный • Подключение: R3/8-1/4″ • Материал корпуса: сталь нержавеющая AISI 316
    Преимущества
    Бесплатные консультации и техподдержка
    Подбор аналогов из наличия
    Быстрая обработка заявки
    Индивидуальный подход
    Лучшие цены и сроки
    Оплата
    Доставка
    • Все о товаре
    • Описание
    • Характеристики

    Описание DAM4-6R-S

    Назначение и принцип работы

    Переходник прямой втулочный предназначен для присоединения трубки к резьбовому приборному или трубопроводному выводу R3/8 с переходом на 1/4″ втулку. Конструкция обжимает трубку с помощью двух обжимных колец и гайки, обеспечивая газонепроницаемое и жидкостеплотное соединение без сварки. Герметизация резьбового соединения выполняется ФУМ-лентой; утечка исключается за счёт совместной работы втулочной (sleeve) части и задней конусной обжимной системы. Модель рассчитана на трубку Ø6 мм (код изделия указывает посадочный диаметр) и типовые задачи КИПиА: импульсная разводка, присоединение датчиков давления, технологических линий с инертными газами и жидкостями.

    Ключевые особенности конструкции

    Корпус и комплект обжимных элементов выполнены из нержавеющей стали AISI 316, что обеспечивает коррозионную стойкость в агрессивных средах и совместимость с гидравликой, паровыми и химическими средами. Уплотнение резьбы — ФУМ-лента; уплотнение трубки — двойная коническая обжимная система (фронтальная и тыльная гильзы). Рабочие давления зависят от диаметра трубки и условий, типично до 200–400 бар при комнатной температуре; рабочий диапазон температур примерно −60…+200 °C (зависит от уплотнений и рабочей среды). Исполнение рассчитано на статические и динамические нагрузки типичных приборных линий.

    Экспертные рекомендации по применению

    При подборе отслеживайте соответствие Ø трубки (≈6 мм) и резьбы R3/8–1/4". Перед сборкой очистите торцы, наденьте обе гильзы по инструкции производителя, используйте ФУМ-ленту только на наружной резьбе, не закручивая ленту во внутреннюю полость. Затяжку выполняйте до посадки первой гильзы и затем контрольным дополнительным поворотом; ориентируйтесь на рекомендованный момент производителя и испытайте систему гидравлическим пробным давлением (1,25–1,5× рабочего). Избегайте повторных многократных демонтажей обжимных колец — при повторном монтаже заменяйте гильзы. Контролируйте вибрации и ударные нагрузки, применяйте опоры и демпфирование при пульсациях давления.

    Автор

    Ответственный редактор / Инженер

    Директор «Би Энд Би Инжиниринг»
    «Описание товара DAM4-6R-S - Переходник прямой с нар. резьбой обжимной R3/8-1/4", нерж. на этой странице составлено на основе нашего 10-летнего опыта работы в сфере пневматического оборудования, запорной арматуры и промышленной автоматизации. Если у вас есть вопросы или комментарии — напишите мне лично».

    Характеристики DAM4-6R-S

    Характеристики фитингов
    Форма фитинга
    переходник прямой с нар. резьбой втулочный
    Тип уплотнения резьбового соединения
    • ФУМ-лента
    Общие характеристики
    Тип конструкции
    обжим трубки с помощью двух обжимных колец и гайки
    Массо-габаритные и монтажные характеристики
    Подключение
    R3/8-1/4″
    Подключение, канал 1
    • R3/8
    Подключение, канал 2
    • 1/4″ (втулка)
    Материалы
    Основной материал
    сталь нержавеющая
    Корпус
    сталь нержавеющая AISI 316
    Идентификационные данные
    Производитель
    DKL
    Артикул
    DAM4-6R-S
    Ед. изм.
    шт.
    Наличие в магазинах
    Магазин и адрес
    Режим работы
    Телефон
    Доступность
    Склад Алматы
    г. Алматы, ул. Казыбаева, 3/3, пом. 11
    Пн.-Пт. 10:00-17:00
    +7(776)990-55-56
    Нет в наличии
    Отзывы

    Отзывы не найдены

    Как только цена на товар снизится, вы сразу об этом узнаете
    Следить за снижением цены

    Цена пока не менялась. Как только она изменится, мы покажем график

    Возможно, вас это заинтересует
     
    • Похожие товары
    • Недавно смотрели