Пневматика и
автоматизация

  • Пн - Пт
  • 9:00 - 18:00
  • Фотография может отличаться от реального товара

    DAM8-8U-S - Переходник прямой с нар. резьбой обжимной UNF 3/4"-16-1/2", нерж.

    260534
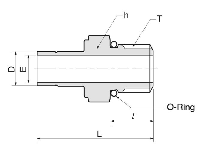
    Форма фитинга: переходник прямой с нар. резьбой втулочный • Подключение: UNF 3/4″-16-1/2″ • Материал корпуса: сталь нержавеющая AISI 316
    Преимущества
    Бесплатные консультации и техподдержка
    Подбор аналогов из наличия
    Быстрая обработка заявки
    Индивидуальный подход
    Лучшие цены и сроки
    Оплата
    Доставка
    • Все о товаре
    • Описание
    • Характеристики

    Описание DAM8-8U-S

    Назначение и принцип работы

    Переходник прямой втулочный с наружной резьбой и уплотнительным кольцом O‑ring предназначен для соединения трубопроводов и приборной арматуры с резьбовыми портами UNF 3/4″-16 и трубной втулкой 1/2″. Конструкция решает задачу надежного перехода от резьбового подключения к обжимной трубной линии при измерениях и доставке технологических сред (газ, нефте- и химические фракции, гидравлика). Уплотнение обеспечивается выступающим O‑ring в резьбовой части и парой обжимных колец с гайкой, которые фиксируют трубку по принципу двухклапанной (double ferrule) системы, создавая уплотнение и механическую фиксацию без сварки или резьбовой резьбы на трубке.

    Ключевые особенности конструкции

    Корпус и обжимные элементы выполнены из нержавеющей стали AISI 316, что обеспечивает стойкость к коррозии и совместимость с агрессивными средами. Присоединения: канал 1 — резьба UNF 3/4″-16, канал 2 — втулка 1/2″ для трубки; конструкция — обжим двумя обжимными кольцами и гайкой; уплотнение резьбы — выступающее O‑ring. Типичная область применения — приборные и технологические линии высокого давления; рабочее давление и температурный диапазон зависят от диаметра трубки и материала O‑ring, ориентировочно до нескольких сотен бар и температур от примерно −60 °C до +200 °C при использовании соответствующих уплотнителей. Детальные допустимые значения уточнять по спецификации производителя и по характеристикам применяемой трубки.

    Экспертные рекомендации по применению

    При подборе учитывайте материал O‑ring и совместимость со средой, подбирайте толщину и наружный диаметр трубки согласно рекомендациям производителя для достижения заявленного давления. При монтаже обеспечьте полную посадку трубки до торца втулки, затягивайте по рекомендованным моментам (избегайте чрезмерного усилия — деформация трубки и потеря герметичности), контролируйте состояние обжимных колец при повторном подключении. Для вибронагруженных участков используйте фиксирующие элементы и периодически проверяйте утечки. При сомнении по давлению/температуре опирайтесь на полные паспорта DK‑Lok и испытания в реальных условиях.

    Автор

    Ответственный редактор / Инженер

    Директор «Би Энд Би Инжиниринг»
    «Описание товара DAM8-8U-S - Переходник прямой с нар. резьбой обжимной UNF 3/4"-16-1/2", нерж. на этой странице составлено на основе нашего 10-летнего опыта работы в сфере пневматического оборудования, запорной арматуры и промышленной автоматизации. Если у вас есть вопросы или комментарии — напишите мне лично».

    Характеристики DAM8-8U-S

    Характеристики фитингов
    Форма фитинга
    переходник прямой с нар. резьбой втулочный
    Тип уплотнения резьбового соединения
    • уплотнительное кольцо O-ring выступающее
    Общие характеристики
    Тип конструкции
    обжим трубки с помощью двух обжимных колец и гайки
    Массо-габаритные и монтажные характеристики
    Подключение
    UNF 3/4″-16-1/2″
    Подключение, канал 1
    • UNF 3/4″-16
    Подключение, канал 2
    • 1/2″ (втулка)
    Материалы
    Основной материал
    сталь нержавеющая
    Корпус
    сталь нержавеющая AISI 316
    Идентификационные данные
    Производитель
    DKL
    Артикул
    DAM8-8U-S
    Ед. изм.
    шт.
    Наличие в магазинах
    Магазин и адрес
    Режим работы
    Телефон
    Доступность
    Склад Алматы
    г. Алматы, ул. Казыбаева, 3/3, пом. 11
    Пн.-Пт. 10:00-17:00
    +7(776)990-55-56
    Нет в наличии
    Отзывы

    Отзывы не найдены

    Как только цена на товар снизится, вы сразу об этом узнаете
    Следить за снижением цены

    Цена пока не менялась. Как только она изменится, мы покажем график

    Возможно, вас это заинтересует
     
    • Похожие товары
    • Недавно смотрели