Пневматика и
автоматизация

  • Пн - Пт
  • 9:00 - 18:00
  • Фотография может отличаться от реального товара

    DMAA10-10-S - Переходник прямой втулка-развальцовка 5/8"-5/8", нерж.

    260707
    Форма фитинга: переходник прямой втулка-развальцовка • Стандарт: SAE J514 (ISO 8434-2) • Подключение: 5/8″ (втулка)-5/8″ (под развальцовку) • Материал корпуса: сталь нержавеющая AISI 316
    Преимущества
    Бесплатные консультации и техподдержка
    Подбор аналогов из наличия
    Быстрая обработка заявки
    Индивидуальный подход
    Лучшие цены и сроки
    Оплата
    Доставка
    • Все о товаре
    • Описание
    • Характеристики

    Описание DMAA10-10-S

    Назначение и принцип работы

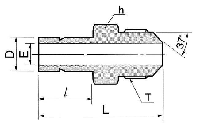
    Прямой переходник втулка–развальцовка предназначен для соединения трубных линий Ø 5/8" (15,88 мм) с развальцованными присоединениями в системах гидравлики, топлива, сжатого воздуха и технологических сред. Работает по механическому принципу обжима: гайка с резьбой UNF 7/8"-14 стягивает два обжимных кольца (втулку и переднюю втулку), формируя герметичное соединение с коническим упором 37° (74°) в соответствии со стандартом SAE J514 (ISO 8434-2). Конструкция обеспечивает повторяемую металлическую торцевую герметичность без дополнительных уплотнительных материалов.

    Ключевые особенности конструкции

    Корпус и комплектующие выполнены из нержавеющей стали AISI 316, что обеспечивает коррозионную стойкость и совместимость с агрессивными средами. Конструкция — обжим трубки двумя кольцами и гайкой; угол конуса 37° (74°) обеспечивает стандартную JIC-соединительную посадку. Присоединения: 5/8" (втулка) — 5/8" (под развальцовку), резьба гайки UNF 7/8"-14. Рабочие параметры зависят от трубки и толщины стенки; типично применимы давления до 420 бар (≈6000 psi) и температурный диапазон порядка −60…+200 °C при металлическом уплотнении.

    Экспертные рекомендации по применению

    Перед монтажом обеспечить чистоту и правильную развальцовку/обрез трубы, вставить трубку до упора и использовать рекомендованный момент затяжки производителя; не применять герметики на конусных поверхностях. Избегать повторного применения обжимных колец при демонтаже — заменять их. Проверять соответствие толщины стенки трубки требованиям SAE J514 для заданного давления и выполнять пробное опрессовывание на рабочее давление с контролем утечек.

    Автор

    Ответственный редактор / Инженер

    Директор «Би Энд Би Инжиниринг»
    «Описание товара DMAA10-10-S - Переходник прямой втулка-развальцовка 5/8"-5/8", нерж. на этой странице составлено на основе нашего 10-летнего опыта работы в сфере пневматического оборудования, запорной арматуры и промышленной автоматизации. Если у вас есть вопросы или комментарии — напишите мне лично».

    Характеристики DMAA10-10-S

    Характеристики фитингов
    Угол конуса фитинга
    • 37° (74°)
    Форма фитинга
    переходник прямой втулка-развальцовка
    Тип уплотнения резьбового соединения
    • -
    Общие характеристики
    Тип конструкции
    обжим трубки с помощью двух обжимных колец и гайки
    Стандарт
    • SAE J514 (ISO 8434-2)
    Массо-габаритные и монтажные характеристики
    Подключение
    5/8″ (втулка)-5/8″ (под развальцовку)
    Подключение, канал 1
    • 5/8″ (втулка)
    Подключение, канал 2
    • 5/8″ (под развальцовку)
    Резьба гайки
    UNF 7/8"-14
    Материалы
    Основной материал
    сталь нержавеющая
    Корпус
    сталь нержавеющая AISI 316
    Идентификационные данные
    Производитель
    DKL
    Артикул
    DMAA10-10-S
    Ед. изм.
    шт.
    Наличие в магазинах
    Магазин и адрес
    Режим работы
    Телефон
    Доступность
    Склад Алматы
    г. Алматы, ул. Казыбаева, 3/3, пом. 11
    Пн.-Пт. 10:00-17:00
    +7(776)990-55-56
    Нет в наличии
    Отзывы

    Отзывы не найдены

    Как только цена на товар снизится, вы сразу об этом узнаете
    Следить за снижением цены

    Цена пока не менялась. Как только она изменится, мы покажем график

    Возможно, вас это заинтересует
     
    • Похожие товары
    • Недавно смотрели