Пневматика и
автоматизация

  • Пн - Пт
  • 9:00 - 18:00
  • Фотография может отличаться от реального товара

    DMAA4-4-S - Переходник прямой втулка-развальцовка 1/4"-1/4", нерж.

    260702
    Форма фитинга: переходник прямой втулка-развальцовка • Стандарт: SAE J514 (ISO 8434-2) • Подключение: 1/4″ (втулка)-1/4″ (под развальцовку) • Материал корпуса: сталь нержавеющая AISI 316
    Преимущества
    Бесплатные консультации и техподдержка
    Подбор аналогов из наличия
    Быстрая обработка заявки
    Индивидуальный подход
    Лучшие цены и сроки
    Оплата
    Доставка
    • Все о товаре
    • Описание
    • Характеристики

    Описание DMAA4-4-S

    Назначение и принцип работы

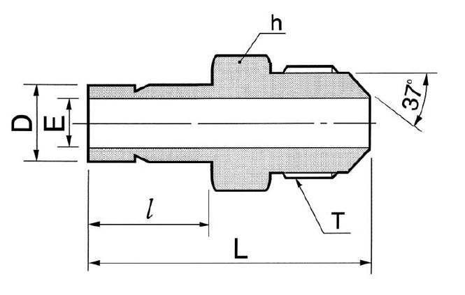
    Прямой переходник втулка‑развальцовка предназначен для перехода между обжимным соединением и трубной развальцовкой в системах инструментальной и промышленной гидравлики, пневматики и технологической арматуры. Работает по принципу комбинированного уплотнения: со стороны втулки — обжим двух обжимных колец и гайки, со стороны — 37° (74°) коническая седловая поверхность под развальцовку по стандарту SAE J514 (ISO 8434-2). Подключения 1/4" (втулка) — 1/4" (под развальцовку) с резьбой гайки UNF 7/16"-20 обеспечивают герметичное присоединение к приборной арматуре и трубопроводам.

    Ключевые особенности конструкции

    Корпус и основные детали выполнены из нержавеющей стали AISI 316, общая категория материала — сталь нержавеющая; конструкция использует две обжимные втулки и гайку для надежного механического захвата трубки. Конический угол 37° обеспечивает металлометаллическое седловое уплотнение при развальцовке. Соответствие SAE J514 (ISO 8434-2) гарантирует совместимость с промышленными трубками 1/4". Рабочая среда: жидкости и газы, агрессивные среды в рамках химической стойкости AISI 316. Типичный эксплуатационный диапазон по температуре и давлению определяется конструкцией системы и толщиной стенки трубки; для нержавеющей конструкции при корректной подготовке соединений практические диапазоны — от криогенных температур до сотен °C, а рабочие давления — до нескольких сотен бар (в реальных условиях уточнять по таблицам производителя и состоянию трубки).

    Экспертные рекомендации по применению

    Подбирайте переходник под точный наружный диаметр и толщину стенки трубки 1/4" и выполняйте развальцовку под 37° по ГО/SAE; со стороны втулки обеспечьте правильную последовательность установки двух обжимных колец и затяжку гайки по рекомендованному моменту. Не используйте герметики на конической седловой поверхности; при необходимости применяйте уплотнения на резьбе только внешне (учет стандарта: тип уплотнения резьбы — отсутствует). Избегайте перекосов и повторной сборки обжимных узлов — поврежденные кольца подлежат замене. После монтажа выполните гидравлическое испытание давления и контроль на вибрацию при эксплуатации.

    Автор

    Ответственный редактор / Инженер

    Директор «Би Энд Би Инжиниринг»
    «Описание товара DMAA4-4-S - Переходник прямой втулка-развальцовка 1/4"-1/4", нерж. на этой странице составлено на основе нашего 10-летнего опыта работы в сфере пневматического оборудования, запорной арматуры и промышленной автоматизации. Если у вас есть вопросы или комментарии — напишите мне лично».

    Характеристики DMAA4-4-S

    Характеристики фитингов
    Угол конуса фитинга
    • 37° (74°)
    Форма фитинга
    переходник прямой втулка-развальцовка
    Тип уплотнения резьбового соединения
    • -
    Общие характеристики
    Тип конструкции
    обжим трубки с помощью двух обжимных колец и гайки
    Стандарт
    • SAE J514 (ISO 8434-2)
    Массо-габаритные и монтажные характеристики
    Подключение
    1/4″ (втулка)-1/4″ (под развальцовку)
    Подключение, канал 1
    • 1/4″ (втулка)
    Подключение, канал 2
    • 1/4″ (под развальцовку)
    Резьба гайки
    UNF 7/16"-20
    Материалы
    Основной материал
    сталь нержавеющая
    Корпус
    сталь нержавеющая AISI 316
    Идентификационные данные
    Производитель
    DKL
    Артикул
    DMAA4-4-S
    Ед. изм.
    шт.
    Наличие в магазинах
    Магазин и адрес
    Режим работы
    Телефон
    Доступность
    Склад Алматы
    г. Алматы, ул. Казыбаева, 3/3, пом. 11
    Пн.-Пт. 10:00-17:00
    +7(776)990-55-56
    Нет в наличии
    Отзывы

    Отзывы не найдены

    Как только цена на товар снизится, вы сразу об этом узнаете
    Следить за снижением цены

    Цена пока не менялась. Как только она изменится, мы покажем график

    Возможно, вас это заинтересует
     
    • Похожие товары
    • Недавно смотрели