Пневматика и
автоматизация

  • Пн - Пт
  • 9:00 - 18:00
  • Фотография может отличаться от реального товара

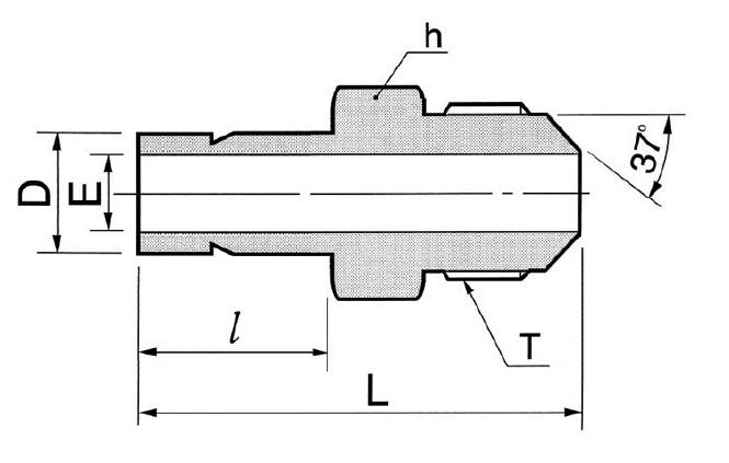
    DMAA8-6-S - Переходник прямой втулка-развальцовка 1/2"-3/8", нерж.

    260704
    Форма фитинга: переходник прямой втулка-развальцовка • Стандарт: SAE J514 (ISO 8434-2) • Подключение: 1/2″ (втулка)-3/8″ (под развальцовку) • Материал корпуса: сталь нержавеющая AISI 316
    Преимущества
    Бесплатные консультации и техподдержка
    Подбор аналогов из наличия
    Быстрая обработка заявки
    Индивидуальный подход
    Лучшие цены и сроки
    Оплата
    Доставка
    • Все о товаре
    • Описание
    • Характеристики

    Описание DMAA8-6-S

    Назначение и принцип работы

    Прямой переходник втулка—развальцовка DK-Lok DMAA8-6-S предназначен для объединения трубных линий разных типов присоединения: 1/2″ под втулку (канал 1) и 3/8″ под развальцовку (канал 2) с герметизацией на конической поверхности 37° (74°). Конструкция решает задачу перехода от системы обжимных соединений к системе развальцовки/фланцевого уплотнения без применения дополнительных адаптеров. Работает по принципу механического зажима трубки двумя обжимными кольцами и гайкой (резьба гайки UNF 9/16"-18) на стороне втулки и конической посадкой 37° на стороне развальцовки, обеспечивая надежную металло-металлическую герметизацию для жидких и газовых сред.

    Ключевые особенности конструкции

    Корпус и основные элементы — нержавеющая сталь AISI 316 (материал обобщённо: сталь нержавеющая), соответствуют стандарту SAE J514 (ISO 8434-2). Тип конструкции — обжим трубки с помощью двух обжимных колец и гайки; угол конуса 37° (74°) обеспечивает классическое коническое уплотнение. Применим для гидравлики, технологических и аналитических трубопроводов, инертных и минеральных масел; допустимый рабочий диапазон зависит от диаметра и толщины стенки трубки, типичных эксплуатационных значений: давление до ~414 бар (6000 psi) при корректной подготовке труб и монтаже, температурный диапазон ориентировочно −196°C…+400°C (ограничивается средой и материалом уплотнений).

    Экспертные рекомендации по применению

    Перед монтажом обеспечить прямой рез, зачистку и калибровку трубки; глубина посадки и порядок установки обжимных колец — по инструкции производителя. Для гайки UNF 9/16"-18 используйте рекомендованные момент и инструмент DK‑Lok; переутяжка приводит к деформации кольца и потере герметичности. Избегайте применения в агрессивных хлоридных средах без антикоррозионных мер. Для расчёта допустимого давления и подбора стенки трубки опирайтесь на паспорт изделия и таблицы производителя.

    Автор

    Ответственный редактор / Инженер

    Директор «Би Энд Би Инжиниринг»
    «Описание товара DMAA8-6-S - Переходник прямой втулка-развальцовка 1/2"-3/8", нерж. на этой странице составлено на основе нашего 10-летнего опыта работы в сфере пневматического оборудования, запорной арматуры и промышленной автоматизации. Если у вас есть вопросы или комментарии — напишите мне лично».

    Характеристики DMAA8-6-S

    Характеристики фитингов
    Угол конуса фитинга
    • 37° (74°)
    Форма фитинга
    переходник прямой втулка-развальцовка
    Тип уплотнения резьбового соединения
    • -
    Общие характеристики
    Тип конструкции
    обжим трубки с помощью двух обжимных колец и гайки
    Стандарт
    • SAE J514 (ISO 8434-2)
    Массо-габаритные и монтажные характеристики
    Подключение
    1/2″ (втулка)-3/8″ (под развальцовку)
    Подключение, канал 1
    • 1/2″ (втулка)
    Подключение, канал 2
    • 3/8″ (под развальцовку)
    Резьба гайки
    UNF 9/16"-18
    Материалы
    Основной материал
    сталь нержавеющая
    Корпус
    сталь нержавеющая AISI 316
    Идентификационные данные
    Производитель
    DKL
    Артикул
    DMAA8-6-S
    Ед. изм.
    шт.
    Наличие в магазинах
    Магазин и адрес
    Режим работы
    Телефон
    Доступность
    Склад Алматы
    г. Алматы, ул. Казыбаева, 3/3, пом. 11
    Пн.-Пт. 10:00-17:00
    +7(776)990-55-56
    Нет в наличии
    Отзывы

    Отзывы не найдены

    Как только цена на товар снизится, вы сразу об этом узнаете
    Следить за снижением цены

    Цена пока не менялась. Как только она изменится, мы покажем график

    Возможно, вас это заинтересует
     
    • Похожие товары
    • Недавно смотрели