Пневматика и
автоматизация

  • Пн - Пт
  • 9:00 - 18:00
  • Фотография может отличаться от реального товара

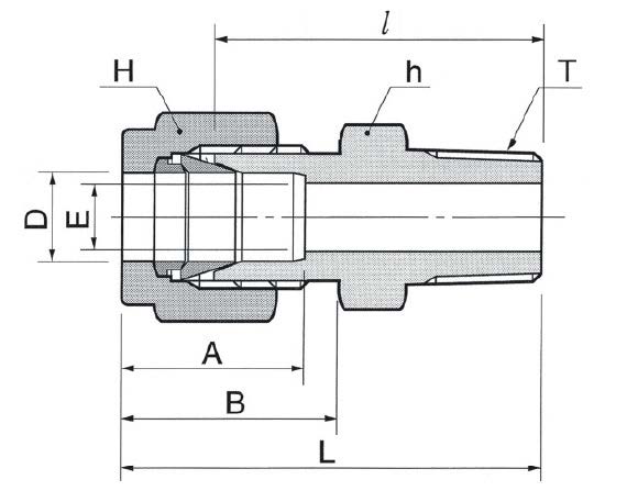
    DMC2-2R-SA - Штуцер прямой с нар. резьбой обжимной R1/8-1/8", нерж.

    259523
    Форма фитинга: штуцер прямой с нар. резьбой • Подключение: R1/8-1/8″ • Материал корпуса: сталь нержавеющая AISI 316
    Преимущества
    Бесплатные консультации и техподдержка
    Подбор аналогов из наличия
    Быстрая обработка заявки
    Индивидуальный подход
    Лучшие цены и сроки
    Оплата
    Доставка
    • Все о товаре
    • Описание
    • Характеристики

    Описание DMC2-2R-SA

    Назначение и принцип работы

    Обжимной штуцер прямой с наружной резьбой R1/8 — предназначен для присоединения трубок 1/8" (Ø 3,175 мм) к резьбовым портам приборов и трубопроводов. Работает по принципу двухколечкового компрессионного уплотнения: при затяжке гайки переднее и заднее обжимные кольца устанавливают плотный металло-металлический контакт с трубкой, исключающий утечку рабочей среды; резьба R1/8 уплотняется ФУМ-лентой (PTFE) на конической резьбе по ISO 7-1. Типичное применение — линии измерений и управляющие трубопроводы в системах КИПиА, гидравлике и газоснабжении.

    Ключевые особенности конструкции

    Корпус и комплентующие выполнены из нержавеющей стали AISI 316, обеспечивающей коррозионную стойкость в агрессивных средах. Конструкция: гайка + две обжимные втулки (фронтальная и задняя). Подключения: канал 1 — резьба R1/8 (наружная коническая), канал 2 — под трубку 1/8" (обжим). Резьвое уплотнение — ФУМ-лента (PTFE). Рабочее давление для типоразмеров 1/8" может достигать порядка 414 бар (≈6000 psi) при корректной сборке; температурный диапазон металло-металлического уплотнения широк — от криогенных значений до сотен градусов, при использовании ФУМ-рst ленты допустимая температура обычно до +260 °C.

    Экспертные рекомендации по применению

    Перед монтажом обеспечить чистую, ровно отрезанную и фасонную трубку Ø3,175 мм; удалить заусенцы. При сборке нанести ФУМ-ленту только на резьбу R1/8, не допускать её попадания в канал. Сборка: завести трубку до упора, затянуть гайку рукой и повернуть дополнительно ~1–1,5 оборота (или по рекомендациям производителя); избегать перетяжки, контролировать отсутствие перекоса втулок. Для вибронагруженных трасс — использовать опоры и компенсаторы. После монтажа проверить герметичность при рабочем давлении и при необходимости подтянуть в пределах рекомендованных моментов. Для агрессивных сред подтверждайте совместимость AISI 316 и применяемых уплотнений.

    Автор

    Ответственный редактор / Инженер

    Директор «Би Энд Би Инжиниринг»
    «Описание товара DMC2-2R-SA - Штуцер прямой с нар. резьбой обжимной R1/8-1/8", нерж. на этой странице составлено на основе нашего 10-летнего опыта работы в сфере пневматического оборудования, запорной арматуры и промышленной автоматизации. Если у вас есть вопросы или комментарии — напишите мне лично».

    Характеристики DMC2-2R-SA

    Характеристики фитингов
    Форма фитинга
    штуцер прямой с нар. резьбой
    Тип уплотнения резьбового соединения
    • ФУМ-лента
    Общие характеристики
    Тип конструкции
    обжим трубки с помощью двух обжимных колец и гайки
    Массо-габаритные и монтажные характеристики
    Подключение
    R1/8-1/8″
    Подключение, канал 1
    • R1/8
    Подключение, канал 2
    • 1/8″ (трубка)
    Материалы
    Основной материал
    сталь нержавеющая
    Корпус
    сталь нержавеющая AISI 316
    Идентификационные данные
    Производитель
    DKL
    Артикул
    DMC2-2R-SA
    Ед. изм.
    шт.
    Наличие в магазинах
    Магазин и адрес
    Режим работы
    Телефон
    Доступность
    Склад Алматы
    г. Алматы, ул. Казыбаева, 3/3, пом. 11
    Пн.-Пт. 10:00-17:00
    +7(776)990-55-56
    Нет в наличии
    Отзывы

    Отзывы не найдены

    Как только цена на товар снизится, вы сразу об этом узнаете
    Следить за снижением цены

    Цена пока не менялась. Как только она изменится, мы покажем график

    Возможно, вас это заинтересует
     
    • Похожие товары
    • Недавно смотрели