Пневматика и
автоматизация

  • Пн - Пт
  • 9:00 - 18:00
  • Фотография может отличаться от реального товара

    DMC6M-8R-SA - Штуцер прямой с нар. резьбой обжимной R1/2-6 мм, нерж.

    259563
    Форма фитинга: штуцер прямой с нар. резьбой • Подключение: R1/2-6 мм • Материал корпуса: сталь нержавеющая AISI 316
    Преимущества
    Бесплатные консультации и техподдержка
    Подбор аналогов из наличия
    Быстрая обработка заявки
    Индивидуальный подход
    Лучшие цены и сроки
    Оплата
    Доставка
    • Все о товаре
    • Описание
    • Характеристики

    Описание DMC6M-8R-SA

    Назначение и принцип работы

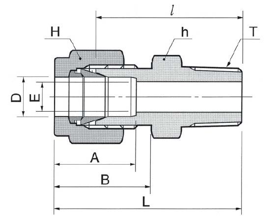
    Обжимной штуцер прямой с наружной резьбой R1/2 для трубки Ø6 мм (комплект DMC6M-8R-SA, DK-Lok) предназначен для присоединения трубопроводов приборной и энергетической автоматики, гидравлики и газовых линий. Соединение реализуется по принципу двухколодочного обжимного узла: трубка вставляется до упора между двумя обжимными кольцами и фиксируется гайкой; герметизация резьбового соединения выполняется ФУМ-лентой на наружной резьбе R1/2 (BSPT). Конструкция обеспечивает металлическое уплотнение трубки и надежную герметизацию резьбы при рабочем перепаде давления и вибрациях.

    Ключевые особенности конструкции

    Корпус и обжимные элементы изготовлены из нержавеющей стали AISI 316, стойкой к коррозии и совместимой с большинством агрессивных сред. Исполнение — двухколодочное (фронтальная и задняя расточки), сцепление металл-металл. Подключения: канал 1 — наружная коническая резьба R1/2; канал 2 — трубка 6 мм. Рекомендуемый температурный диапазон эксплуатации: от −196 °C до +316 °C; типичное рабочее давление для трубок Ø6 мм у аналогичных обжимных систем — до 400 bar в зависимости от стенки трубки и условий монтажа. Уплотнение резьбы — ФУМ-лента; среда — воды, масла, сжатые газы, химически агрессивные среды при совместимости с AISI 316.

    Экспертные рекомендации по применению

    Перед установкой обеспечить ровный торец и отсутствие задиров на трубке, глубина ввода — до упора. Накрутить ФУМ-ленту на наружную резьбу R1/2 по направлению закручивания, не закрывая канал. При сборке затянуть гайку после достижения контактного упора колец: дополнительно 1/4–1/2 оборота ключом; избегать перетяжки. Выбирать трубку и толщину стенки согласно расчетному давлению; при вибрации применять опоры и демпферы. Проверять герметичность гидро/пневмоконтролем после монтажа. Типичные ошибки: неполная посадка трубки, грязь в обжиме, излишняя ФУМ-лента в канале.

    Автор

    Ответственный редактор / Инженер

    Директор «Би Энд Би Инжиниринг»
    «Описание товара DMC6M-8R-SA - Штуцер прямой с нар. резьбой обжимной R1/2-6 мм, нерж. на этой странице составлено на основе нашего 10-летнего опыта работы в сфере пневматического оборудования, запорной арматуры и промышленной автоматизации. Если у вас есть вопросы или комментарии — напишите мне лично».

    Характеристики DMC6M-8R-SA

    Характеристики фитингов
    Форма фитинга
    штуцер прямой с нар. резьбой
    Тип уплотнения резьбового соединения
    • ФУМ-лента
    Общие характеристики
    Тип конструкции
    обжим трубки с помощью двух обжимных колец и гайки
    Массо-габаритные и монтажные характеристики
    Подключение
    R1/2-6 мм
    Подключение, канал 1
    • R1/2
    Подключение, канал 2
    • 6 мм (трубка)
    Материалы
    Основной материал
    сталь нержавеющая
    Корпус
    сталь нержавеющая AISI 316
    Идентификационные данные
    Производитель
    DKL
    Артикул
    DMC6M-8R-SA
    Ед. изм.
    шт.
    Наличие в магазинах
    Магазин и адрес
    Режим работы
    Телефон
    Доступность
    Склад Алматы
    г. Алматы, ул. Казыбаева, 3/3, пом. 11
    Пн.-Пт. 10:00-17:00
    +7(776)990-55-56
    Нет в наличии
    Отзывы

    Отзывы не найдены

    Как только цена на товар снизится, вы сразу об этом узнаете
    Следить за снижением цены

    Цена пока не менялась. Как только она изменится, мы покажем график

    Возможно, вас это заинтересует
     
    • Похожие товары
    • Недавно смотрели