Пневматика и
автоматизация

  • Пн - Пт
  • 9:00 - 18:00
  • Фотография может отличаться от реального товара

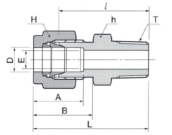
    DMC8-16R-SA - Штуцер прямой с нар. резьбой обжимной R1-1/2", нерж.

    259542
    Форма фитинга: штуцер прямой с нар. резьбой • Подключение: R1-1/2″ • Материал корпуса: сталь нержавеющая AISI 316
    Преимущества
    Бесплатные консультации и техподдержка
    Подбор аналогов из наличия
    Быстрая обработка заявки
    Индивидуальный подход
    Лучшие цены и сроки
    Оплата
    Доставка
    • Все о товаре
    • Описание
    • Характеристики

    Описание DMC8-16R-SA

    Назначение и принцип работы

    Обжимной штуцер прямой с наружной резьбой DMC8-16R-SA DK‑Lok предназначен для перехода с резьевого подключения на металлическую трубку Ø 1/2" (12,7 мм) в технологических линиях с агрессивными средами и повышенным давлением. Соединение обеспечивает герметичность за счёт двух обжимных колец и гайки: переднее кольцо создаёт уплотнение, заднее — фиксирует трубку и предотвращает её выскальзывание. Резьба при монтаже дополнительно уплотняется ФУМ‑лентой (PTFE) на наружной резьбе R1‑1/2" / канал 1 — R1, канал 2 — 1/2" (трубка), что компенсирует допуски и микронеровности резьбовых поверхностей.

    Ключевые особенности конструкции

    Корпус и обжимные элементы выполнены из нержавеющей стали AISI 316, обеспечивающей высокую коррозионную стойкость и совместимость с водой, паром, гидравлическими маслами и химически активными средами. Тип конструкции — двухкольцевой обжим (double ferrule) с гайкой, что даёт надёжное металлическое уплотнение и повторяемость сборки. Резьба — R (BSPT) с уплотнением ФУМ‑лентой. Рабочее давление типично до 413 бар (6000 psi) для типоразмеров 1/2", рабочая температура ограничена стойкостью уплотнения ФУМ: примерно −60…+200 °C; металл корпуса выдерживает более широкий интервал.

    Экспертные рекомендации по применению

    Перед монтажом торец трубки снять фаску и удалить заусенцы, вставить трубку до упора в седло; использовать рекомендованный момент затяжки производителя, избегать перетягивания гайки. Наносить ФУМ‑ленту только на чистую резьбу и в направлении скручивания; не применять герметики, несовместимые с PTFE. Для вибронагруженных трасс предусмотреть опоры и компенсаторы; при агрессивных средах контролировать состояние обжимных колец при обслуживании. При подборе учитывать диаметр 1/2" (12,7 мм) и резьевое согласование R1‑1/2 / R1.

    Автор

    Ответственный редактор / Инженер

    Директор «Би Энд Би Инжиниринг»
    «Описание товара DMC8-16R-SA - Штуцер прямой с нар. резьбой обжимной R1-1/2", нерж. на этой странице составлено на основе нашего 10-летнего опыта работы в сфере пневматического оборудования, запорной арматуры и промышленной автоматизации. Если у вас есть вопросы или комментарии — напишите мне лично».

    Характеристики DMC8-16R-SA

    Характеристики фитингов
    Форма фитинга
    штуцер прямой с нар. резьбой
    Тип уплотнения резьбового соединения
    • ФУМ-лента
    Общие характеристики
    Тип конструкции
    обжим трубки с помощью двух обжимных колец и гайки
    Массо-габаритные и монтажные характеристики
    Подключение
    R1-1/2″
    Подключение, канал 1
    • R1
    Подключение, канал 2
    • 1/2″ (трубка)
    Материалы
    Основной материал
    сталь нержавеющая
    Корпус
    сталь нержавеющая AISI 316
    Идентификационные данные
    Производитель
    DKL
    Артикул
    DMC8-16R-SA
    Ед. изм.
    шт.
    Наличие в магазинах
    Магазин и адрес
    Режим работы
    Телефон
    Доступность
    Склад Алматы
    г. Алматы, ул. Казыбаева, 3/3, пом. 11
    Пн.-Пт. 10:00-17:00
    +7(776)990-55-56
    Нет в наличии
    Отзывы

    Отзывы не найдены

    Как только цена на товар снизится, вы сразу об этом узнаете
    Следить за снижением цены

    Цена пока не менялась. Как только она изменится, мы покажем график

    Возможно, вас это заинтересует
     
    • Похожие товары
    • Недавно смотрели