Пневматика и
автоматизация

  • Пн - Пт
  • 9:00 - 18:00
  • Фотография может отличаться от реального товара

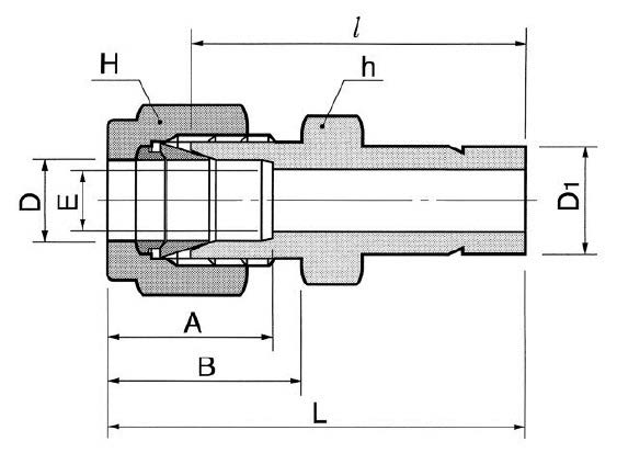
    DR12-8-SA - Переходник прямой обжимной 3/4"-1/2", нерж.

    260362
    Форма фитинга: переходник прямой втулочный • Подключение: 3/4″ (трубка)-1/2″ (втулка) • Материал корпуса: сталь нержавеющая AISI 316
    Преимущества
    Бесплатные консультации и техподдержка
    Подбор аналогов из наличия
    Быстрая обработка заявки
    Индивидуальный подход
    Лучшие цены и сроки
    Оплата
    Доставка
    • Все о товаре
    • Описание
    • Характеристики

    Описание DR12-8-SA

    Назначение и принцип работы

    Прямой втулочный переходник обжимного типа предназначен для присоединения металлической трубки Ø 3/4″ к резьбовому приему 1/2″ (втулка) в контурах измерительной, пневмо- и гидросистемы, тепло- и паропроводов малых диаметров. Принцип работы основан на двухфerrerной обжимной системе DK-Lok: при затяжке гайки обжимные кольца садятся на трубку, формируя герметичное металлометаллическое уплотнение без применения трубной резьбовой пасты. Такое соединение обеспечивает стойкость к вибрациям и утечкам при эксплуатационных перепадах давления и температуры.

    Ключевые особенности конструкции

    Корпус и обжимные элементы выполнены из нержавеющей стали AISI 316, что обеспечивает коррозионную стойкость в агрессивных средах и химически нейтральных средах (вода, масла, инертные и промышленные газы). Форма — прямой переходник втулочный с подключением 3/4″ (трубка) — 1/2″ (втулка). Конструкция: два обжимных кольца и гайка, без дополнительного резьбового уплотнения. Типичные области применения — приборные линии высокого и среднего давления; характерные рабочие давления для аналогичных обжимных фитингов DK-Lok лежат в диапазоне десятков МПа (точное значение зависит от размера трубки и условий установки). Рабочие температуры определяются материалом AISI 316 и эксплуатационной средой.

    Экспертные рекомендации по применению

    Перед монтажом обеспечить ровный торец трубки и отсутствие заусенцев, использовать рекомендованный момент затяжки производителя; производить первичную проверку на герметичность при сниженном давлении. Избегать перекосов при сборке и ударных нагрузок на фитинг; при агрессивных средах с хлоридами контролировать условия коррозии нержавеющей стали. Для подбора учитывайте диаметр 3/4″ и переход на 1/2″ — при необходимости согласовать допустимое падение давления и допустимые режимы цикличности.

    Автор

    Ответственный редактор / Инженер

    Директор «Би Энд Би Инжиниринг»
    «Описание товара DR12-8-SA - Переходник прямой обжимной 3/4"-1/2", нерж. на этой странице составлено на основе нашего 10-летнего опыта работы в сфере пневматического оборудования, запорной арматуры и промышленной автоматизации. Если у вас есть вопросы или комментарии — напишите мне лично».

    Характеристики DR12-8-SA

    Характеристики фитингов
    Форма фитинга
    переходник прямой втулочный
    Тип уплотнения резьбового соединения
    • -
    Общие характеристики
    Тип конструкции
    обжим трубки с помощью двух обжимных колец и гайки
    Массо-габаритные и монтажные характеристики
    Подключение
    3/4″ (трубка)-1/2″ (втулка)
    Подключение, канал 1
    • 3/4″ (трубка)
    Подключение, канал 2
    • 1/2″ (втулка)
    Материалы
    Основной материал
    сталь нержавеющая
    Корпус
    сталь нержавеющая AISI 316
    Идентификационные данные
    Производитель
    DKL
    Артикул
    DR12-8-SA
    Ед. изм.
    шт.
    Наличие в магазинах
    Магазин и адрес
    Режим работы
    Телефон
    Доступность
    Склад Алматы
    г. Алматы, ул. Казыбаева, 3/3, пом. 11
    Пн.-Пт. 10:00-17:00
    +7(776)990-55-56
    Нет в наличии
    Отзывы

    Отзывы не найдены

    Как только цена на товар снизится, вы сразу об этом узнаете
    Следить за снижением цены

    Цена пока не менялась. Как только она изменится, мы покажем график

    Возможно, вас это заинтересует
     
    • Похожие товары
    • Недавно смотрели