Пневматика и
автоматизация

  • Пн - Пт
  • 9:00 - 18:00
  • Фотография может отличаться от реального товара

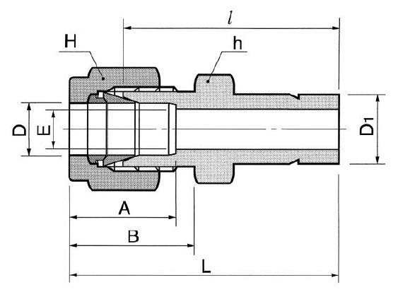
    DR18M-16-SA - Переходник прямой обжимной 18 мм-1", нерж.

    260386
    Форма фитинга: переходник прямой втулочный • Подключение: 18 мм (трубка)-1″ (втулка) • Материал корпуса: сталь нержавеющая AISI 316
    Преимущества
    Бесплатные консультации и техподдержка
    Подбор аналогов из наличия
    Быстрая обработка заявки
    Индивидуальный подход
    Лучшие цены и сроки
    Оплата
    Доставка
    • Все о товаре
    • Описание
    • Характеристики

    Описание DR18M-16-SA

    Назначение и принцип работы

    Прямой втулочный переходник DK-Lok DR18M-16-SA предназначен для соединения трубки Ø18 мм с внутренней резьбой 1″ в трубопроводах технологической и приборной арматуры. Конструкция решает задачу герметичного перехода между метрическим трубным ответвлением и резьбовой втулкой без сварки и резьбовых уплотнителей за счёт механического обжима двух обжимных колец и гайки. При сборке кольца смещаются и формируют плотный контакт с трубкой и корпусом, обеспечивая уплотнение рабочей среды (газы, сжатый воздух, нефте– и химпродукты, пар) при номинальных рабочих параметрах.

    Ключевые особенности конструкции

    Корпус и рабочие элементы изготовлены из нержавеющей стали AISI 316, что повышает коррозионную стойкость и химическую совместимость. Тип конструкции — обжим трубки с двумя обжимными кольцами и гайкой (double ferrule), форма — переходник прямой втулочный; подключение: 18 мм (трубка) → 1″ (втулка). Резьбовое уплотнение не применяется (-). Расчётные рабочие диапазоны для подобных металлических обжимных фитингов: давление до примерно 420 бар (≈6000 psi) в зависимости от толщины стенки трубки и режима, температура эксплуатации ориентировочно от −196 °C до +200 °C при отсутствии уплотнений на основе эластомеров. Применим в системах приборного учета, гидравлики, насыщенных паровых трасс и агрессивных сред.

    Экспертные рекомендации по применению

    Перед монтажом обеспечить чистую от заусенцев торцовую поверхность трубки Ø18 мм и установить правильно набор втулок. Вставляйте трубку до упора в седло фитинга, контролируйте осевое положение при обжиме. Не используйте повторно деформированные обжимные кольца — заменяйте при демонтаже. Затяжку выполнять динамометрическим ключом в соответствии с инструкцией производителя для данного диаметра/резьбы; избегайте перетяжки и недостаточной затяжки, которые приводят к течи. После монтажа провести пробное гидростатическое или пневматическое испытание и периодический контроль на вибрационных участках. При работе с агрессивными средами учитывать совместимость AISI 316 и рабочей среды по коррозионным таблицам.

    Автор

    Ответственный редактор / Инженер

    Директор «Би Энд Би Инжиниринг»
    «Описание товара DR18M-16-SA - Переходник прямой обжимной 18 мм-1", нерж. на этой странице составлено на основе нашего 10-летнего опыта работы в сфере пневматического оборудования, запорной арматуры и промышленной автоматизации. Если у вас есть вопросы или комментарии — напишите мне лично».

    Характеристики DR18M-16-SA

    Характеристики фитингов
    Форма фитинга
    переходник прямой втулочный
    Тип уплотнения резьбового соединения
    • -
    Общие характеристики
    Тип конструкции
    обжим трубки с помощью двух обжимных колец и гайки
    Массо-габаритные и монтажные характеристики
    Подключение
    18 мм (трубка)-1″ (втулка)
    Подключение, канал 1
    • 18 мм (трубка)
    Подключение, канал 2
    • 1″ (втулка)
    Материалы
    Основной материал
    сталь нержавеющая
    Корпус
    сталь нержавеющая AISI 316
    Идентификационные данные
    Производитель
    DKL
    Артикул
    DR18M-16-SA
    Ед. изм.
    шт.
    Наличие в магазинах
    Магазин и адрес
    Режим работы
    Телефон
    Доступность
    Склад Алматы
    г. Алматы, ул. Казыбаева, 3/3, пом. 11
    Пн.-Пт. 10:00-17:00
    +7(776)990-55-56
    Нет в наличии
    Отзывы

    Отзывы не найдены

    Как только цена на товар снизится, вы сразу об этом узнаете
    Следить за снижением цены

    Цена пока не менялась. Как только она изменится, мы покажем график

    Возможно, вас это заинтересует
     
    • Похожие товары
    • Недавно смотрели