Пневматика и
автоматизация

  • Пн - Пт
  • 9:00 - 18:00
  • Фотография может отличаться от реального товара

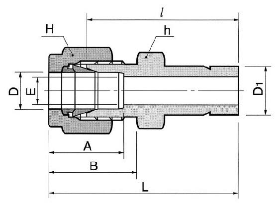
    DR2-8-SA - Переходник прямой обжимной 1/8"-1/2", нерж.

    260335
    Форма фитинга: переходник прямой втулочный • Подключение: 1/8″ (трубка)-1/2″ (втулка) • Материал корпуса: сталь нержавеющая AISI 316
    Преимущества
    Бесплатные консультации и техподдержка
    Подбор аналогов из наличия
    Быстрая обработка заявки
    Индивидуальный подход
    Лучшие цены и сроки
    Оплата
    Доставка
    • Все о товаре
    • Описание
    • Характеристики

    Описание DR2-8-SA

    Назначение и принцип работы

    Переходник прямой втулочный предназначен для соединения трубной линии диаметром 1/8″ (наружная трубка) с корпусной втулкой 1/2″ в системах измерения и распределения технологических сред. Конструкция решает задачу упорядоченного перехода с малодименсионной трубки на установленный фасонный порт при сохранении герметичности и допустимой механической прочности. Работает по принципу двухобжимного соединения: при затяжке гайки первые и вторые обжимные кольца последовательно фиксируют трубку и обеспечивают металлометаллическое уплотнение без применения уплотнительных материалов на резьбе (Тип уплотнения резьбы: -), что обеспечивает стойкость к вибрации и циклическим нагрузкам.

    Ключевые особенности конструкции

    Корпус и обжимные элементы выполнены из нержавеющей стали AISI 316 (материал корпуса: сталь нержавеющая AISI 316; материал обобщённо: сталь нержавеющая), устойчивой к коррозии в агрессивных средах. Тип конструкции — обжим трубки с помощью двух обжимных колец и гайки — обеспечивает повторяемость сборки и ремонтопригодность. Подключение: 1/8″ (трубка) – 1/2″ (втулка); канал 1 — 1/8″, канал 2 — 1/2″. Рекомендуемый диапазон эксплуатационных температур для металлоконструкции примерно от -60 °C до +250 °C, рабочие давления типично соответствуют инструментальным системам (порядка единиц до сотен бар в зависимости от диаметров и марки трубки); отсутствие резьбового уплотнителя требует правильной затяжки для достижения расчетного давления.

    Экспертные рекомендации по применению

    При подборе учитывайте соответствие наружного диаметра трубки 1/8″ и посадочного размера втулки 1/2″; применяйте оригинальные обжимные кольца DK-Lok. Монтаж — равномерная затяжка гайки с контролем момента до достижения уплотнения, последующая дополнительная приработка не более одной-двух четвертей оборота. Избегайте перекосов и механических нагрузок на соединение после обжатия. Проверяйте совместимость со средой (коррозионные агенты, абразивы) и температурный режим: при использовании уплотнительных вставок или герметиков уточняйте допустимые температуры. Типичные ошибки — недостаточная затяжка, повторное многократное обжатие старой трубки и применение труб с деформацией конца; эти нарушения снижают герметичность и ресурс соединения.

    Автор

    Ответственный редактор / Инженер

    Директор «Би Энд Би Инжиниринг»
    «Описание товара DR2-8-SA - Переходник прямой обжимной 1/8"-1/2", нерж. на этой странице составлено на основе нашего 10-летнего опыта работы в сфере пневматического оборудования, запорной арматуры и промышленной автоматизации. Если у вас есть вопросы или комментарии — напишите мне лично».

    Характеристики DR2-8-SA

    Характеристики фитингов
    Форма фитинга
    переходник прямой втулочный
    Тип уплотнения резьбового соединения
    • -
    Общие характеристики
    Тип конструкции
    обжим трубки с помощью двух обжимных колец и гайки
    Массо-габаритные и монтажные характеристики
    Подключение
    1/8″ (трубка)-1/2″ (втулка)
    Подключение, канал 1
    • 1/8″ (трубка)
    Подключение, канал 2
    • 1/2″ (втулка)
    Материалы
    Основной материал
    сталь нержавеющая
    Корпус
    сталь нержавеющая AISI 316
    Идентификационные данные
    Производитель
    DKL
    Артикул
    DR2-8-SA
    Ед. изм.
    шт.
    Наличие в магазинах
    Магазин и адрес
    Режим работы
    Телефон
    Доступность
    Склад Алматы
    г. Алматы, ул. Казыбаева, 3/3, пом. 11
    Пн.-Пт. 10:00-17:00
    +7(776)990-55-56
    Нет в наличии
    Отзывы

    Отзывы не найдены

    Как только цена на товар снизится, вы сразу об этом узнаете
    Следить за снижением цены

    Цена пока не менялась. Как только она изменится, мы покажем график

    Возможно, вас это заинтересует
     
    • Похожие товары
    • Недавно смотрели