Пневматика и
автоматизация

  • Пн - Пт
  • 9:00 - 18:00
  • Фотография может отличаться от реального товара

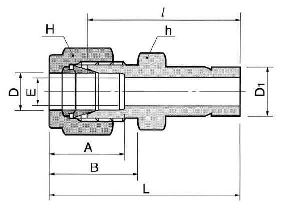
    DR25M-20M-SA - Переходник прямой обжимной 25 мм-20 мм, нерж.

    260425
    Форма фитинга: переходник прямой втулочный • Подключение: 25 мм (трубка)-20 мм (втулка) • Материал корпуса: сталь нержавеющая AISI 316
    Преимущества
    Бесплатные консультации и техподдержка
    Подбор аналогов из наличия
    Быстрая обработка заявки
    Индивидуальный подход
    Лучшие цены и сроки
    Оплата
    Доставка
    • Все о товаре
    • Описание
    • Характеристики

    Описание DR25M-20M-SA

    Назначение и принцип работы

    Прямой втулочный переходник обжимного типа предназначен для соединения трубки Ø25 мм с втулкой Ø20 мм в системах технологической арматуры и приборной трассировки. Работает по принципу двухобжимного соединения: при затяжке гайки две обжимные кольца (фасонная и уплотнительная) создают контактное пластическое деформирование трубки и втулки, обеспечивая герметичность без применения уплотнительных резинок. Применяется в линиях подачи жидкостей и газов, измерительных и аналитических контурах, где требуется коррозионная стойкость и высокая надежность при рабочем давлении до нескольких сотен бар (ориентировочно до 345 bar для типичных металлокомпрессионных линий; окончательное значение — по документации производителя).

    Ключевые особенности конструкции

    Корпус и детали изготовлены из нержавеющей стали AISI 316, устойчивой к агрессивным средам и высоким температурам. Конструкция — обжим трубки с помощью двух обжимных колец и гайки (двухфланцевое/двухкольцевое исполнение) без резьбового уплотнения. Подключение: канал 1 — трубка 25 мм, канал 2 — втулка 20 мм. Металлическое уплотнение обеспечивает широкий диапазон рабочих температур (ориентировочно −196…+450 °C) и совместимость с маслами, паром, газами и агрессивными растворителями. Изделие соответствует промышленным требованиям к герметичности и механической нагрузке при монтаже с рекомендованными усилиями.

    Экспертные рекомендации по применению

    Перед монтажом обеспечить ровную отрезанную торцевую поверхность трубки, соблюсти глубину посадки втулки и использовать момент затяжки по таблице производителя; избегать повторного многоразового монтажа одной и той же втулки при критичных давлениях. Для коррозионных сред и повышенных температур выбирать AISI 316; при сомнении по давлению и температуре ориентироваться на паспортные данные DK‑Lok и проводить гидравлические испытания после установки. Типичные ошибки: недостаточная посадка втулки, перекос при сборке, чрезмерный или недостаточный момент затяжки — все снижают долговечность и герметичность соединения.

    Автор

    Ответственный редактор / Инженер

    Директор «Би Энд Би Инжиниринг»
    «Описание товара DR25M-20M-SA - Переходник прямой обжимной 25 мм-20 мм, нерж. на этой странице составлено на основе нашего 10-летнего опыта работы в сфере пневматического оборудования, запорной арматуры и промышленной автоматизации. Если у вас есть вопросы или комментарии — напишите мне лично».

    Характеристики DR25M-20M-SA

    Характеристики фитингов
    Форма фитинга
    переходник прямой втулочный
    Тип уплотнения резьбового соединения
    • -
    Общие характеристики
    Тип конструкции
    обжим трубки с помощью двух обжимных колец и гайки
    Массо-габаритные и монтажные характеристики
    Подключение
    25 мм (трубка)-20 мм (втулка)
    Подключение, канал 1
    • 25 мм (трубка)
    Подключение, канал 2
    • 20 мм (втулка)
    Материалы
    Основной материал
    сталь нержавеющая
    Корпус
    сталь нержавеющая AISI 316
    Идентификационные данные
    Производитель
    DKL
    Артикул
    DR25M-20M-SA
    Ед. изм.
    шт.
    Наличие в магазинах
    Магазин и адрес
    Режим работы
    Телефон
    Доступность
    Склад Алматы
    г. Алматы, ул. Казыбаева, 3/3, пом. 11
    Пн.-Пт. 10:00-17:00
    +7(776)990-55-56
    Нет в наличии
    Отзывы

    Отзывы не найдены

    Как только цена на товар снизится, вы сразу об этом узнаете
    Следить за снижением цены

    Цена пока не менялась. Как только она изменится, мы покажем график

    Возможно, вас это заинтересует
     
    • Похожие товары
    • Недавно смотрели