Пневматика и
автоматизация

  • Пн - Пт
  • 9:00 - 18:00
  • Фотография может отличаться от реального товара

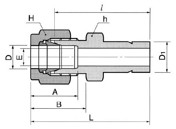
    DR4-5-SA - Переходник прямой обжимной 1/4"-5/16", нерж.

    260341
    Форма фитинга: переходник прямой втулочный • Подключение: 1/4″ (трубка)-5/16″ (втулка) • Материал корпуса: сталь нержавеющая AISI 316
    Преимущества
    Бесплатные консультации и техподдержка
    Подбор аналогов из наличия
    Быстрая обработка заявки
    Индивидуальный подход
    Лучшие цены и сроки
    Оплата
    Доставка
    • Все о товаре
    • Описание
    • Характеристики

    Описание DR4-5-SA

    Назначение и принцип работы

    Переходник прямой втулочный предназначен для соединения трубки Ø1/4" (6,35 мм) с втулкой 5/16" (7,94 мм) в системах запорной и контрольно-измерительной арматуры, гидравлике и пневматике. Работает по принципу обжима: гайка прижимает две обжимные втулки (двухконусная схема), формируя герметичное металлическое уплотнение на трубке без применения мягких уплотнений. Решает задачу надежного перехода между разными наружными диаметрами при эксплуатации в агрессивных и высоконапорных средах.

    Ключевые особенности конструкции

    Корпус и обжимные элементы выполнены из нержавеющей стали AISI 316, общий материал — нержавеющая сталь. Двухколецовая обжимная конструкция обеспечивает радиальное и осевой зажим трубки, а герметизация достигается металлоконтактным уплотнением (тип уплотнения резьбы — отсутствует). Применение — газовые и жидкостные среды, пар, агрессивные химические среды. В типичных условиях эксплуатации допустимые рабочие давления для подобных обжимных фитингов — до ~300 бар (зависит от конфигурации системы), температурный диапазон эксплуатации — ориентировочно от −196 °C до +430 °C.

    Экспертные рекомендации по применению

    Перед монтажом обеспечить чистоту и отсутствие заусенцев: отрезать трубку под прямым углом, удалить фаску и стружку. Вставить трубку до упора, затянуть гайку вручную и затем дополнительно 1–1,5 оборота ключом — избегать перетяжки. При повторном монтаже рекомендовано заменять обжимные втулки. Проверять совместимость материалов в многокомпонентных системах (предотвращать гальваническую коррозию) и проводить гидравлические испытания после установки. При высоких давлениях опираться на паспортные данные системы и рекомендации производителя.

    Автор

    Ответственный редактор / Инженер

    Директор «Би Энд Би Инжиниринг»
    «Описание товара DR4-5-SA - Переходник прямой обжимной 1/4"-5/16", нерж. на этой странице составлено на основе нашего 10-летнего опыта работы в сфере пневматического оборудования, запорной арматуры и промышленной автоматизации. Если у вас есть вопросы или комментарии — напишите мне лично».

    Характеристики DR4-5-SA

    Характеристики фитингов
    Форма фитинга
    переходник прямой втулочный
    Тип уплотнения резьбового соединения
    • -
    Общие характеристики
    Тип конструкции
    обжим трубки с помощью двух обжимных колец и гайки
    Массо-габаритные и монтажные характеристики
    Подключение
    1/4″ (трубка)-5/16″ (втулка)
    Подключение, канал 1
    • 1/4″ (трубка)
    Подключение, канал 2
    • 5/16″ (втулка)
    Материалы
    Основной материал
    сталь нержавеющая
    Корпус
    сталь нержавеющая AISI 316
    Идентификационные данные
    Производитель
    DKL
    Артикул
    DR4-5-SA
    Ед. изм.
    шт.
    Наличие в магазинах
    Магазин и адрес
    Режим работы
    Телефон
    Доступность
    Склад Алматы
    г. Алматы, ул. Казыбаева, 3/3, пом. 11
    Пн.-Пт. 10:00-17:00
    +7(776)990-55-56
    Нет в наличии
    Отзывы

    Отзывы не найдены

    Как только цена на товар снизится, вы сразу об этом узнаете
    Следить за снижением цены

    Цена пока не менялась. Как только она изменится, мы покажем график

    Возможно, вас это заинтересует
     
    • Похожие товары
    • Недавно смотрели