Пневматика и
автоматизация

  • Пн - Пт
  • 9:00 - 18:00
  • Фотография может отличаться от реального товара

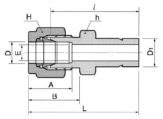
    DR5-6-SA - Переходник прямой обжимной 5/16"-3/8", нерж.

    260346
    Форма фитинга: переходник прямой втулочный • Подключение: 5/16″ (трубка)-3/8″ (втулка) • Материал корпуса: сталь нержавеющая AISI 316
    Преимущества
    Бесплатные консультации и техподдержка
    Подбор аналогов из наличия
    Быстрая обработка заявки
    Индивидуальный подход
    Лучшие цены и сроки
    Оплата
    Доставка
    • Все о товаре
    • Описание
    • Характеристики

    Описание DR5-6-SA

    Назначение и принцип работы

    Прямой обжимной переходник втулочного типа предназначен для соединения трубки Ø5/16″ с втулкой/партнёром 3/8″ в контурax измерительной, технологической и гидравлической автоматики. Работает по принципу двухфланцевого (двух обжимных колец) герметизирующего соединения: при затяжке гайки кольца обжимаются на трубке, создавая металлическое уплотнение без дополнительной резьбовой прокладки. Изделие из нержавеющей стали AISI 316 обеспечивает коррозионную стойкость и применимо в системах до типичных рабочих давлений порядка 6000 psi (≈413 бар) в зависимости от толщины стенки трубки и условий эксплуатации; рабочий температурный диапазон типично от −54 °C до +204 °C.

    Ключевые особенности конструкции

    Корпус и обжимные элементы — нержавеющая сталь (матрица AISI 316), конструкция — двухкольцевая (две обжимные втулки + гайка) для надёжного металлоконтактного уплотнения. Тип уплотнения резьбы не предусмотрен (герметизация осуществляется обжимом), что исключает необходимость применения ленты или пасты на уплотняемых поверхностях. Применяется для агрессивных и нейтральных сред: гидравлические масла, вода, инертные газы, технологические и аналитические среды; совместимость с кислотными средами определяется материалом AISI 316. Стандартные области применения — приборная трасса, лабораторные стенды, пневмогидравлика, газовые магистрали.

    Экспертные рекомендации по применению

    Подбирайте переходник по наружному диаметру трубки 5/16″ и под сопрягаемую втулку 3/8″; соблюдайте рекомендованную толщину стенки трубки для обеспечения расчётной прочности и герметичности. При монтаже: ровная отрезка, удаление стружки и фаска торца, установить кольца в заданной последовательности, затянуть гайку вручную, затем затянуть ключом на 1–1,5 оборота (в зависимости от конструкции) до получения плотного обжима; после первого пуска — контрольная досадка 1/4 оборота. Не допускайте многократных повторных обжатий той же втулки; при повторном монтаже заменяйте обжимные кольца. Избегайте ударных нагрузок, вибрации без дополнительной фиксации и сварки вблизи фитинга. Обязательно провести испытание на герметичность под рабочим давлением после установки.

    Автор

    Ответственный редактор / Инженер

    Директор «Би Энд Би Инжиниринг»
    «Описание товара DR5-6-SA - Переходник прямой обжимной 5/16"-3/8", нерж. на этой странице составлено на основе нашего 10-летнего опыта работы в сфере пневматического оборудования, запорной арматуры и промышленной автоматизации. Если у вас есть вопросы или комментарии — напишите мне лично».

    Характеристики DR5-6-SA

    Характеристики фитингов
    Форма фитинга
    переходник прямой втулочный
    Тип уплотнения резьбового соединения
    • -
    Общие характеристики
    Тип конструкции
    обжим трубки с помощью двух обжимных колец и гайки
    Массо-габаритные и монтажные характеристики
    Подключение
    5/16″ (трубка)-3/8″ (втулка)
    Подключение, канал 1
    • 5/16″ (трубка)
    Подключение, канал 2
    • 3/8″ (втулка)
    Материалы
    Основной материал
    сталь нержавеющая
    Корпус
    сталь нержавеющая AISI 316
    Идентификационные данные
    Производитель
    DKL
    Артикул
    DR5-6-SA
    Ед. изм.
    шт.
    Наличие в магазинах
    Магазин и адрес
    Режим работы
    Телефон
    Доступность
    Склад Алматы
    г. Алматы, ул. Казыбаева, 3/3, пом. 11
    Пн.-Пт. 10:00-17:00
    +7(776)990-55-56
    Нет в наличии
    Отзывы

    Отзывы не найдены

    Как только цена на товар снизится, вы сразу об этом узнаете
    Следить за снижением цены

    Цена пока не менялась. Как только она изменится, мы покажем график

    Возможно, вас это заинтересует
     
    • Похожие товары
    • Недавно смотрели