Пневматика и
автоматизация

  • Пн - Пт
  • 9:00 - 18:00
  • Фотография может отличаться от реального товара

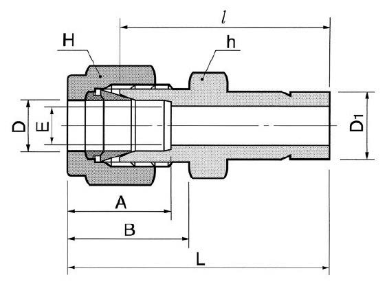
    DR8-10-SA - Переходник прямой обжимной 1/2"-5/8", нерж.

    260356
    Форма фитинга: переходник прямой втулочный • Подключение: 1/2″ (трубка)-5/8″ (втулка) • Материал корпуса: сталь нержавеющая AISI 316
    Преимущества
    Бесплатные консультации и техподдержка
    Подбор аналогов из наличия
    Быстрая обработка заявки
    Индивидуальный подход
    Лучшие цены и сроки
    Оплата
    Доставка
    • Все о товаре
    • Описание
    • Характеристики

    Описание DR8-10-SA

    Назначение и принцип работы

    Переходник прямой втулочный обжимной служит для герметичного соединения трубки Ø1/2" с втулкой Ø5/8" в линиях приборной и технологической арматуры. Конструкция с двумя обжимными кольцами и гайкой обеспечивает металл-металл уплотнение без применения лент и герметиков: при затяжке гайки втулка деформирует трубку и формирует уплотняющую кромку, передаётся рабочее давление и предотвращаются утечки. Применяется в системах КИПиА, гидравлике, газо- и нефтепроводах, лабораторных установках и химическом оборудовании.

    Ключевые особенности конструкции

    Корпус и основные элементы — нержавеющая сталь AISI 316, общая группа материала — сталь нержавеющая, стойкая к коррозии и совместимая с агрессивными средами. Исполнение — обжим трубки с двумя кольцами и гайкой; тип уплотнения резьбы отсутствует (металлическое уплотнение втулкой). Подключение: канал 1 — 1/2" (трубка), канал 2 — 5/8" (втулка). Типичные эксплуатационные ориентиры для аналогичных обжимных фитингов DK‑Lok: рабочее давление до ≈6000 psi (≈413 бар) в зависимости от толщины стенки трубки и условий, температурный диапазон примерно −54…+204 °C (влияние среды и уплотнений требуется уточнять по приложению).

    Экспертные рекомендации по применению

    Подбирайте фитинг с учётом наружного диаметра и толщины стенки трубки; перед монтажом удалите фаски и заусенцы, соблюдайте рекомендованный момент затяжки производителя и используйте динамометрический ключ. Избегайте многократных перетяжек — это снижает герметичность; при вибрации применяйте опоры и антивибрационные элементы. После сборки выполните гидравлическую/пневматическую проверку на герметичность. Для агрессивных сред и критичных температур согласуйте материал и допуски с поставщиком DK‑Lok.

    Автор

    Ответственный редактор / Инженер

    Директор «Би Энд Би Инжиниринг»
    «Описание товара DR8-10-SA - Переходник прямой обжимной 1/2"-5/8", нерж. на этой странице составлено на основе нашего 10-летнего опыта работы в сфере пневматического оборудования, запорной арматуры и промышленной автоматизации. Если у вас есть вопросы или комментарии — напишите мне лично».

    Характеристики DR8-10-SA

    Характеристики фитингов
    Форма фитинга
    переходник прямой втулочный
    Тип уплотнения резьбового соединения
    • -
    Общие характеристики
    Тип конструкции
    обжим трубки с помощью двух обжимных колец и гайки
    Массо-габаритные и монтажные характеристики
    Подключение
    1/2″ (трубка)-5/8″ (втулка)
    Подключение, канал 1
    • 1/2″ (трубка)
    Подключение, канал 2
    • 5/8″ (втулка)
    Материалы
    Основной материал
    сталь нержавеющая
    Корпус
    сталь нержавеющая AISI 316
    Идентификационные данные
    Производитель
    DKL
    Артикул
    DR8-10-SA
    Ед. изм.
    шт.
    Наличие в магазинах
    Магазин и адрес
    Режим работы
    Телефон
    Доступность
    Склад Алматы
    г. Алматы, ул. Казыбаева, 3/3, пом. 11
    Пн.-Пт. 10:00-17:00
    +7(776)990-55-56
    Нет в наличии
    Отзывы

    Отзывы не найдены

    Как только цена на товар снизится, вы сразу об этом узнаете
    Следить за снижением цены

    Цена пока не менялась. Как только она изменится, мы покажем график

    Возможно, вас это заинтересует
     
    • Похожие товары
    • Недавно смотрели